Generators EB EB5000 EB5000XK2 AC EAKC-1000001-9999999 FRAME - Wilkinson Supply, Inc.

Ref No
Part Number
Description
Serial Range
Qty
Price

Ref No
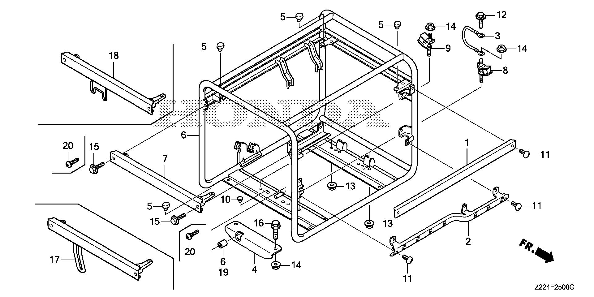
1
Part Number
32378-Z22-000ZA
Description
GUARD, CONTROL PANEL (UPPER) *NH105* (MAT BLACK)
Serial Range
1000001 - 9999999
Qty
Price
$68.86

Ref No
2
Part Number
32379-Z22-000ZA
Description
GUARD, CONTROL PANEL (LOWER) *NH105* (MAT BLACK)
Serial Range
1000001 - 9999999
Qty
Price
$63.95

Ref No
3
Part Number
32610-ZD1-A40
Description
CABLE, SUB-GROUND
Serial Range
1000001 - 9999999
Qty
Price
$9.56

Ref No
4
Part Number
50138-Z18-000
Description
BRACKET, STOPPER
Serial Range
1000001 - 9999999
Qty
Price
$37.67

Ref No
5
Part Number
50153-ZR6-000
Description
RUBBER, FUEL TANK MOUNTING
Serial Range
1000001 - 9999999
Qty
Price
$7.27

Ref No
6
Part Number
50310-Z22-T30ZA
Description
FRAME *NH105* (MAT BLACK)
Serial Range
1000001 - 9999999
Qty
Price
$704.09

Ref No
7
Part Number
50315-Z22-000ZA
Description
FRAME, SIDE *NH105* (MAT BLACK)
Serial Range
1505418 - 9999999
Qty
Price
$89.38

Ref No
8
Part Number
68325-Z23-E30
Description
RUBBER (LOWER)
Serial Range
1038078 - 9999999
Qty
Price
$30.35

Ref No
9
Part Number
68325-Z22-E30
Description
RUBBER (LOWER)
Serial Range
1018691 - 9999999
Qty
Price
$30.38

Ref No
10
Part Number
68331-Z18-000
Description
RUBBER, BUMP STOP
Serial Range
1021038 - 9999999
Qty
Price
$4.71

Ref No
11
Part Number
90101-Z22-000
Description
SCREW, TRUSS (6X12)
Serial Range
1000001 - 9999999
Qty
Price
$0.98

Ref No
12
Part Number
90148-SE0-003
Description
BOLT, GROUND (6X16) (WASHER 12.5MM) (ZN)
Serial Range
1000001 - 9999999
Qty
Price
$12.86

Ref No
13
Part Number
94050-08000
Description
NUT, FLANGE (8MM)
Serial Range
1000001 - 9999999

Ref No
14
Part Number
94050-10000
Description
NUT, FLANGE (10MM)
Serial Range
1000001 - 9999999

Ref No
15
Part Number
95701-08016-07
Description
BOLT, FLANGE (8X16)
Serial Range
1000001 - 9999999
Qty
Price
$2.68

Ref No
16
Part Number
95701-10040-00
Description
BOLT, FLANGE (10X40)
Serial Range
1000001 - 9999999

Ref No
17
Part Number
50315-Z22-620ZA
Description
FRAME, SIDE *NH105* (MAT BLACK)
Serial Range
1020007 - 9999999
Qty
Price
$101.89